薄膜制备的物理方法 - 磁传感器知识 - 设计资料
磁传感器知识

薄膜制备的物理方法

发布日期:2015年11月20日    浏览次数:24621

跟化学气相沉积方法不同的是,物理气相沉积有独有的优越性,它对沉积材料和基片材料进没有限制。

物理气相沉积过程可概括为三个阶段:①  从源材料中发射出粒子;②  从粒子输运到基片;③  粒子在基片上凝结、成核、长大、成膜。


一、真空蒸发

1、真空蒸发沉积的物理原理

真空蒸发沉积薄膜具有简单便利、操作容易、成膜速度快、效率高等特点,在真空蒸发技术中,人们只需要产生一个真空环境,在真空环境下,给待蒸发物提供足够的热量与获得蒸发所必须的蒸气压,在适当的温度下,蒸发粒子在基片上凝结,这样就可实现真空蒸发薄膜沉积。

大量材料皆可以在真空中蒸发,最终在基片上凝结以形成薄膜,真空蒸发沉积过程由三个步骤组成:

  蒸发源材料由凝聚相转变成气相;  在蒸发源于基片之间蒸发粒子的输运;③  蒸发粒子到达基片后凝结、成核、长大、成膜。


2、真空蒸发技术

真空蒸发系统一般由三个部分组成:  真空室;②  蒸发源或蒸发加热装置;③  放置基片及给基片加热装置。

在真空中为了蒸发那个待沉积的材料,需要容器来支撑或盛装蒸发物,同时需要提供蒸发热使蒸发物达到足够高的温度以产生所需的蒸气压,在一定温度下,蒸发气体与凝聚相平衡过程中所呈现的压力陈伟该物质的饱和蒸气压。

重要的蒸发方法有电阻加热蒸发、闪烁蒸发、电子束蒸发、激光熔融蒸发、弧光蒸发、射频加热蒸发等。


二、溅射

在某一温度下,如果固体或液体受到适当的高能粒子(通常为离子)的轰击,则固体或液体中的原子通过碰撞有可能获得足够的能量从表面逃逸,这一将原子从表面发射出去的方式称为溅射。

1、溅射的基本原理:

溅射是指具有足够高能量的粒子轰击固体(称为靶)表面使其中的原子发射出来,早期人们认为这一现象源于靶材的局部加热,但是,不久人们发现溅射与蒸发有本质区别,并逐渐认识到溅射是轰击粒子与靶粒子之间动量传递的结果。

2、溅射镀膜的特点

相对于真空蒸发镀膜,溅射镀膜具有如下特点:(1)对于任何待镀材料,只要能作成靶材,就可以实现溅射;(2)溅射所获得的薄膜与基片结合较好;(3)溅射所获得的薄膜纯度高,致密性好;(4)溅射工艺可重复性好,膜厚可控制,同时可以在大面积基片上获得厚度均匀的薄膜。溅射存在的缺点是,相对于真空蒸发,它的沉积速率低,基片会受到等离子体的辐照等作用而产生温升。

3、溅射参数

表征溅射特性的主要参数有溅射阈值、溅射率、溅射粒子的速度和能量等。溅射阈值是指将靶材原子溅射出来所需的入射粒子最小能量值。溅射率又称溅射产额或溅射系数,是描述溅射特性的一个重要参数,它表示入射正离子轰击靶阴极时,平均每个正离子能从靶阴极中打出的原子数。溅射原子所具有的能量和速度也是溅射的重要参数,在溅射过程中,溅射原子所获得能量比热蒸发原子能量大1~2和数量级,能量值在1~10eV之间。溅射原子所获得的能量与靶材、入射离子的种类、能量等因素有关。

4、溅射装置

溅射装置种类繁多,因电极不同可分为二极、三极、四极、磁控溅射、射频溅射等。直流溅射系统一般只能用于靶材为良导体的溅射,而射频溅射则适用于绝缘体、导体、半导体等任何一类靶材的溅射。磁控溅射是通过施加磁场改变电子的运动方向,并束缚和延长电子的运动轨迹,进而提高电子对工作气体的电离效率和溅射沉积率,磁控溅射具有沉积温度低、沉积速率高两大特点。一般通过溅射方法所获得薄膜材料与靶材属于同一物质,但也有一种溅射方法,其溅射所获得的薄膜材料与靶材不同,这种方法称为反应溅射法,即在溅射镀膜时,引入的某一种放电气体与溅射出来的靶原子发生化学反应而形成新物质。

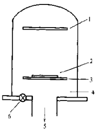
 辉光放电直流溅射:在种类繁多的溅射系统中,最简单的系统莫过于辉光放电直流溅射系统,如图1所示,盘状的带毒靶材连接到电源的阴极,与靶相对的基片则连接到电源的阳极,通过电极加上1~5kV的直流电压,充入到真空室的中性气体如氩气(分压在1.3~13Pa)便会开始辉光放电。当辉光放电开始,正离子就会打击靶盘,是靶材表面的中性原子逸出,这些中性原子最终会在基片上凝结形成薄膜。同时在离子轰击靶材时也有大量电子(二次电子)从阴极靶发射出来,他们被加速并跑向基片表面。

fy5{n1)$[3s$knlb8o%h9sr

图1 辉光放电直流溅射系统

1-  阴极(靶);2-基片;3-阳极;4-真空室;5-接真空泵;6-进气口

   三极溅射:三极溅射涉及到将一个独立的电子源中的电子注入到放电系统中,这个独立的电子源就是热阴极,他通过热离子辐射形式发射电子。热离子阴极通常是一加热的钨丝,它可以承受长时间的离子轰击。

  射频溅射:在通常的直流溅射系统中,如果金属靶换成绝缘靶,则在离子轰击过程中,正电荷便会累积在绝缘体的前表面,用离子束和电子束同时轰击绝缘体,可以防止这种电荷累积现象的出现。但Anderson等人则设计了沉积绝缘体的溅射系统,随后Davidse和Maissel将这种设计研制成一种实用系统,在这一系统中,射频电势加载位于绝缘靶下面的金属电极上。在射频电势的作用下,在交变电场中振荡的电子具有足够高的能量产生离化碰撞,从而使放电达到自持。

  磁控溅射:自从20世纪70年代早期磁控溅射技术诞生以来,磁控溅射技术在高速率沉积金属、半导体和介电薄膜方面已取得了巨大进步,与传统的耳机溅射相比,磁控溅射除了可以在较低工作压强下得到较高的沉积率以外,它也可以在较低基片温度下获得高质量薄膜。

  离子束溅射:溅射放电系统的一个主要缺点是工作压强较高,由此导致溅射膜中有气体分子的进入,在离子束溅射沉积中,在离子源中产生的离子束通过引出电压被引入到真空室,尔后直接打到靶上并将靶材原子溅射出来,最终沉积在附近的基片上。如图2

xe{2m~m_(6er_64f%uxbp~y

图2

1-  离子源;2-导出电极;3-基片;4-靶

相对于传统溅射,离子束溅射的优点有:1. 离子束窄能量分布是我们能将溅射率作为离子能量的函数来研究;2. 可以使离子束精确聚焦和扫描;3. 在保持离子束特性不变的情况下,可以变换靶材和基片材料;4. 可以独立控制离子束能量和电流。

⑥ 交流溅射:Takeuchi等人应用简单的交流溅射系统制备了Bi-Sr-Ca-Cu-O(BSCCO)超导膜,其交流溅射系统示意图见图3,同时也作为电极的一对盘状靶,通过位于石英管反应器中心处的水平Cu插棒得到支撑,Y-Sr-Zr基片放在石英管的底部,聚焦红外灯用于加热基片(可达850℃)。

3330tsx_gx@9f{k08e@$zp7

图3 交流溅射系统示意图

1-  Cu棒;2-靶;3-低压Hg灯;4-石英管;5-入气口;6-基片;7-红外灯;8-接真空泵

  反应溅射:在存在反应气体的情况下,溅射靶材时,靶材料会与反应气体反应形成化合物(如氧化物或氮化物),这样的溅射我们称之为反应溅射。在惰性气体溅射化合物靶材时由于化学不稳定性往往导致薄膜较靶材少一个或更多组分,此时如果加上反应气体可以补偿所缺少的组分,这种溅射也可视为反应溅射。


三、离子束和离子助

应用与离子相关的技术制备薄膜已有20多年的历史,大量技术如离子镀、离子束溅射、离子束沉积先后被研制开发出来,这些沉积技术通过增加离子动能或通过离化提高化学活性使所获得的薄膜具有如下优点:与基片结合良好;在低温下可实现外延生长;形貌可改变;可合成化合物等。

1.  离子镀:离子镀是在真空条件下,利用气体放电使气体或被蒸发物部分离化,产生离子轰击效应,最终将蒸发物或反应物沉积在基片上。

2.  阴极电弧等离子体沉积:阴极电弧等离子体沉积是相对较新的一种薄膜沉积技术,它在许多方面类似于离子镀技术。阴极电弧蒸发沉积薄膜的有点主要是:在发射的粒子流中离化率高,而且这些离化的离子具有较高的动能(40~100eV)。

3.  热空阴极枪蒸发:热空阴极枪蒸发式产生电弧的设备,通过收集电子形成电子束而作为加热源。这一设备用于沉积各种金属涂层。

4.  共离子轰击沉积:在沉积前,一分离的气体离子源可以用于溅射清洗基片,而且它也可以用于沉积过程中可控方式轰击膜,由此可以得到高黏附力膜。Hoffman和Gaorttner共离子轰击沉积了金属膜,并研究了由共离子轰击所引起的膜性质的变化。他们使用分离的惰性气体离子源在凝聚过程中同时轰击基片。惰性气体离子和蒸发粒子流可被独立控制。

5.  非平衡磁控离子助沉积:Window和Savvides研制了一种新型的平面式沉积源,这种源能在沉积离子中给出一束分立的离子束(强度可独立于沉积过程而改变)。这种离子源可以更方便的用于离子束助沉积,而又不同于使用分立沉积离子源和轰击离子源技术。产生的离子流是非平衡磁控装置的直接结果。

6.  离子束沉积:离子束有两种基本组态用于沉积薄膜,在直接离子束沉积(IBD)中,离子束在低能(≈100eV)情况下直接沉积到基片上,离子束沉积的简单基本原理见图4,在离子束溅射沉积过程中,高能离子束直接打向靶材,将后者溅射并沉积到相邻的基片上。

5{ru]nfu}66qxvytk3gd305

图4 离子束沉积的简单原理示意图

1-  离子源;2-离子提取器;3-基片;4-离子束


四、外延膜沉积技术

外延是指沉积膜与基片之间存在结晶学关系时,在基片上取向或单晶生长同一物质的方法,当外延膜在同一种材料上生长时,称为同质外延,如果外延是在不同材料上生长则称为异质外延。外延用于生长元素、半导体化合物和合金薄结晶层。

1.  分子束外延(MBE):分子束外延是在超高真空条件下精确控制原材料的中性分子束强度,并使其在加热的基片上进行外延生长的一种技术,从本质上讲,分子束外延也属于真空蒸发方法,但与传统真空蒸发不同的是,分子束外延系统具有超高真空,并配有原位监测和分析系统,能够获得高质量的单晶薄膜。

2.  液相外延生长:液相外延生长为制备高纯半导体化合物和合金提供了快速而又简单的方法。确实,由液相外延生长获得的膜的质量优于气相外延或分子束外延所得到的最好膜的质量。液相外延生长原则上讲是从液相中生长膜,溶有待镀材料的溶剂是液相外延生长中必需的,当冷却时,待镀材料从溶液中析出并在相关的基片上生长。对于液相外延生长制备薄膜,溶液和基片在系统中保持分离。在适当的生长温度下,溶液因含有待镀材料而达到饱和状态,然后将溶液与基片的表面接触,并以适当的速度冷却,一段时间后即可获得所要的薄膜,而且,在膜中也很容易引入掺杂物。

3.  热壁外延生长:热壁外延是一种真空沉积技术,在这一技术中外延膜几乎在接近热平衡条件下生长,这一生长过程是通过加热源材料与基片材料间的容器壁来实现的。

4.  有机金属化学气相沉积:有机金属化学气相沉积是采用加热方式将化合物分解而进行外延生长半导体化合物的方法。作为含有化合物半导体组分的原料,化合物有一定的要求:①在常温下较稳定而且较易处理;②反应的副产物不应阻碍外延生长,不应污染生长层;③在室温下应具有适当的蒸气压(≥133Pa)。

有机金属化学气相沉积法的最大特点是它可对多种化合物半导体进行外延生长,与其他外延生长法如液相外延生长、气相外延生长相比,有机金属化学气相沉积有以下特点:  反应装置较为简单,生长温度范围较宽;②  可对化合物的组分进行精确控制,膜的均匀性和膜的电学性质重复性好;③  原料气体不会对生长膜产生蚀刻作用,因此,在沿膜生长方向上,可实现掺杂浓度的明显变化;④  只通过改变原材料即可生长出各种成分的化合物。

有机金属化学气相沉积法的缺点是:所用的有机金属原料一般具有自燃性,AsH3等V族原料气体,VI族原料气体具有剧毒。


获取最新信息

重庆时时开彩官方网站-时时采彩计划软件-重庆时时开彩官网开奖查询-重庆时时开彩app下载-重庆时时采彩开奖号码走势图-重庆时时投注平台官网不定期地通过电子邮件向订阅用户发送最新消息,包括新品发布,应用方案,展会邀请等。

重庆时时开彩官方网站-时时采彩计划软件-重庆时时开彩官网开奖查询-重庆时时开彩app下载-重庆时时采彩开奖号码走势图-重庆时时投注平台官网微信公众号
微信公众号
重庆时时开彩官方网站-时时采彩计划软件-重庆时时开彩官网开奖查询-重庆时时开彩app下载-重庆时时采彩开奖号码走势图-重庆时时投注平台官网视频号
视频号