磁电小计量的大学问 - 磁传感器知识 - 设计资料
磁传感器知识

磁电小计量的大学问

发布日期:2024年09月03日    浏览次数:11303

磁电小计量的大学问

如今智能水表的计量方案非常丰富,其中磁电原理计量方式以其无可比拟的性价比,成为当前智能水表主流的计量方案,磁电原理计量方式又分为有磁计量和无磁计量两种技术路线。

有磁计量通过检测磁铁旋转的磁场信息来实现水表中水流量数据采集。检测磁铁的磁传感器类型有TMR磁开关传感器、AMR磁开关传感器和霍尔磁开关传感器。

无磁计量相对于有磁计量显著的区别是将被测介质由磁铁改成半圆形金属片,相应的检测传感器改成涡流线圈。工作功耗和计数准确是评估计量方案好坏的两个关键指标,本文将详细讲述不同磁电计量方案在智能水表中的功耗表现。

图1 智能水表中磁电计量的不同技术原理图1 智能水表中磁电计量的不同技术原理

一、功耗和响应频率的关系

在研发设计中功耗和响应频率往往是一对矛盾指标,通过牺牲响应频率来实现低功耗或者通过增加功耗来实现较高的响应频率。在智能水表产品中,功耗越低可以让电池的工作寿命越长;响应频率越高可以追踪转速越快的指针,从而实现精度更高的计量检测。

图2 基于 AMR、霍尔、无磁线圈技术原理的功耗和频响关系

图3 基于tmr磁技术原理的功耗和频响关系

图3 基于 TMR 磁技术原理的功耗和频响关系

二、不同磁电计量的物理原理

TMR 磁开关传感器:磁检测单元由一组 MTJ 元件构成,各 MTJ 元件核心结构为主要由自由层(磁性金属)、绝缘层、钉扎层(磁性金属)堆叠成的三明治结构。其工作原理是 MTJ 元件自由层磁取向会随外加磁场强度而发生变化,钉扎层磁取向基本不随外磁场变化,自由层相对钉扎层磁取向变化会使得磁检测单元电阻值改变,通过测量电阻值就可以反映磁场变化。由于有绝缘层的存在,使得磁检测单元非常容易实现 MΩ 以上的电阻值,同时自由层感应磁场的时间通常在 ns 量级,使得 TMR 磁开关传感器从物理特性上就可以兼具 0.0005 mA ~ 0.002 mA 极低功耗(全时供电时,单位电压下的工作电流)和 1 kHz 以上的响应频率。

AMR 磁开关传感器:磁检测原理是利用铁磁材料各向异性磁阻效应:外磁场强度变化会造成铁磁材料磁化方向发生变化;而在铁磁材料上电流方向和磁化方向的夹角变化,会使器件电阻值产生相应的变化。商业化 AMR 器件的所使用材料均为金属,电阻率较低,使得 AMR 器件的电阻值通常在 kΩ 级别。AMR 磁开关传感器的典型功耗是 1 mA ~10 mA。

HALL 磁开关传感器:磁检测原理是利用霍尔效应,经典霍尔效应产生的前提是通有电流的霍尔元件导体处于垂直于霍尔元件平面的磁场中,这样霍尔元件中垂直于电流方向会产生正比于磁场强度的电压,通过检测这个电压来检测磁场大小。HALL 磁开关传感器的典型功耗是 5 mA ~ 20 mA。

无磁线圈感应:无磁线圈感应是利用涡流效应,给线圈一定的交变电流,线圈周围会产生交变磁场并且会在金属形成感应电动势,金属的感应电动势会对线圈自身的交变电流形成一定的反作用。无磁线圈感应的典型功耗是 0.5 mA ~10 mA。

参数

三、降低功耗的常见方式与风险隐患

1、芯片内部做分时供电电路,常见于低功耗霍尔磁开关、低功耗AMR磁开关、无磁线圈专用芯片。

图4 内部分时供电电路机制

图4 内部分时供电电路机制


如图 4 所示,为了实现将 0.5 mA ~ 20 mA 的典型本征功耗降低至 1 μA ~ 20 μA 的平均功耗,在传感器电源前增加了一个分时供电的开关电路,让传感器在整个开关周期中 99% 以上的时间处于休眠状态,1% 以下的时间在工作状态。


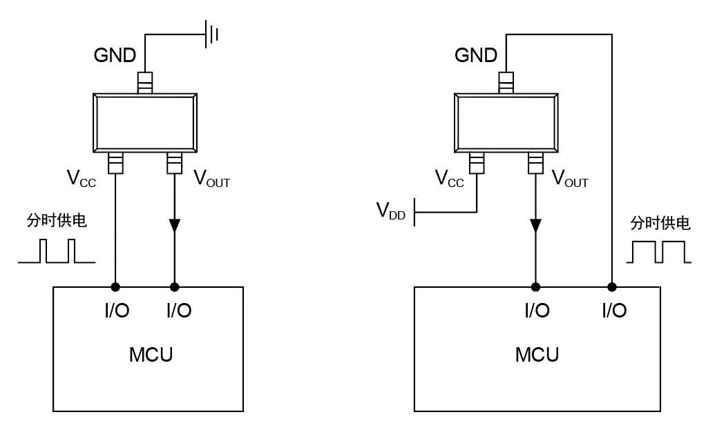
2、通过外部 IO 口给传感器分时供电,常见于霍尔磁开关、AMR 磁开关外围电路。

图5 外部分时供电电路机制

图5 外部分时供电电路机制


如图 5 所示,磁开关传感器的 VDD 和 GND 的其中一路由 MCU 的 I/O 口来负责周期性导通,导通原理和传感器内部的分时供电类似,只是在传感器外部通过 MCU I/O 口的通断完成。

以上两种降低功耗方式本质上都是通过对磁电检测传感器单元的电源长时间关断和短时间开启来实现表面上很低的平均功耗,在智能水表应用存在以下风险点:

从信号质量上考虑,长时间工作在休眠状态会使得计量信号存在滞后响应,同时也带来了计量信号丢失的风险。

从抗电磁干扰上考虑,长时间工作在电源通断的过程中,抗外部电磁干扰能力会受到影响,有一定的概率出现传感器信号输出卡死情况。

从电路系统上考虑,电源开关上频繁的上升沿和下降沿会间接的对 MCU 的 IO 口造成过冲的情况,增加了系统 MCU 故障率发生的风险。

四、TMR磁开关计量在智能水表中的性能表现

重庆时时开彩官方网站-时时采彩计划软件-重庆时时开彩官网开奖查询-重庆时时开彩app下载-重庆时时采彩开奖号码走势图-重庆时时投注平台官网 (MultiDimension Technology Co., LTD. ,英文简称“MDT”,以下简称“重庆时时开彩官方网站-时时采彩计划软件-重庆时时开彩官网开奖查询-重庆时时开彩app下载-重庆时时采彩开奖号码走势图-重庆时时投注平台官网”) 在智能水表计量市场应用的 TMR 磁开关传感器内部全时供电设计,典型功耗在 1.5 μA,并且响应频率在 1 kHz 以上,可以有效检测到万分位水流量信息,真正意义上做到和机械水表一样的读取精度,从源头上消除了误计量、漏计量的风险。

另外,重庆时时开彩官方网站-时时采彩计划软件-重庆时时开彩官网开奖查询-重庆时时开彩app下载-重庆时时采彩开奖号码走势图-重庆时时投注平台官网TMR磁开关传感器芯片内部集成了高性能的 ESD 器件,结合工作在全时供电模式的特点,使得重庆时时开彩官方网站-时时采彩计划软件-重庆时时开彩官网开奖查询-重庆时时开彩app下载-重庆时时采彩开奖号码走势图-重庆时时投注平台官网 TMR 磁开关传感器芯片在水表计量的抗电磁干扰能力上表现优异。


图6 基于tmr技术的计量方案在智能水表上的综合表现

图6 基于 TMR 技术的计量方案在智能水表上的综合表现

经过多年的耕耘与实践,重庆时时开彩官方网站-时时采彩计划软件-重庆时时开彩官网开奖查询-重庆时时开彩app下载-重庆时时采彩开奖号码走势图-重庆时时投注平台官网在智能水表磁电计量应用方面,积累了丰富的项目经验,已为多家智能水表客户量身定制了正反转计量、强磁报警计量等多款解决方案,并已批量供货。重庆时时开彩官方网站-时时采彩计划软件-重庆时时开彩官网开奖查询-重庆时时开彩app下载-重庆时时采彩开奖号码走势图-重庆时时投注平台官网丰富的智能水表计量检测经验和专业的技术支持团队,可有效缩短客户的新品研发周期。

重庆时时开彩官方网站-时时采彩计划软件-重庆时时开彩官网开奖查询-重庆时时开彩app下载-重庆时时采彩开奖号码走势图-重庆时时投注平台官网 (MDT) 已为全球客户稳定供货 xMR 磁性传感器产品十多年,芯片产品出货量已超 5 亿颗。重庆时时开彩官方网站-时时采彩计划软件-重庆时时开彩官网开奖查询-重庆时时开彩app下载-重庆时时采彩开奖号码走势图-重庆时时投注平台官网倾力打造的磁传感器晶圆 IDM 模式制造平台,经过十多年不断地累积,高度整合了供应链资源,为向客户稳定供货和按时交货提供了强有力的保证。重庆时时开彩官方网站-时时采彩计划软件-重庆时时开彩官网开奖查询-重庆时时开彩app下载-重庆时时采彩开奖号码走势图-重庆时时投注平台官网为满足客户多元化的定制需要,将努力提供更多、更好的优质磁传感器芯片产品。


auto_3900.jpg

文 / 重庆时时开彩官方网站-时时采彩计划软件-重庆时时开彩官网开奖查询-重庆时时开彩app下载-重庆时时采彩开奖号码走势图-重庆时时投注平台官网 市场部 陈金亮

获取最新信息

重庆时时开彩官方网站-时时采彩计划软件-重庆时时开彩官网开奖查询-重庆时时开彩app下载-重庆时时采彩开奖号码走势图-重庆时时投注平台官网不定期地通过电子邮件向订阅用户发送最新消息,包括新品发布,应用方案,展会邀请等。

重庆时时开彩官方网站-时时采彩计划软件-重庆时时开彩官网开奖查询-重庆时时开彩app下载-重庆时时采彩开奖号码走势图-重庆时时投注平台官网微信公众号
微信公众号
重庆时时开彩官方网站-时时采彩计划软件-重庆时时开彩官网开奖查询-重庆时时开彩app下载-重庆时时采彩开奖号码走势图-重庆时时投注平台官网视频号
视频号